Barre de test HSK

Ultra-haute précision : erreur de cylindricité ≤0,002 mm, rugosité de surface Ra≤0,2 μm

Spécifications multiples : Longueurs standard de 100 mm à 1000 mm, tailles personnalisées disponibles

Excellente stabilité thermique : le faible coefficient de dilatation thermique assure l’adaptabilité à l’environnement


détails du produit

Description du produit

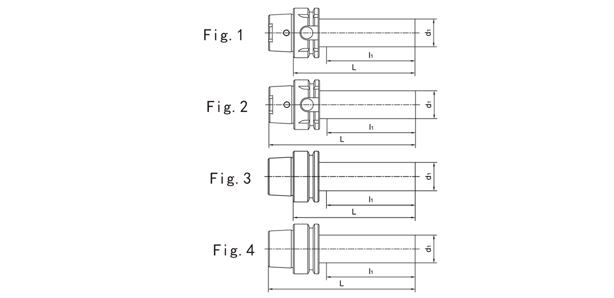
La barre d’essai est un outil de mesure de haute précision largement utilisé dans l’usinage et la fabrication de précision. Il est principalement utilisé pour détecter la précision géométrique telle que le faux-rond radial, la coaxialité et la perpendicularité de composants clés tels que les broches de machine-outil et les rails de guidage. Fabriqué à partir d’acier allié de qualité supérieure ou de carbure de tungstène par des processus de meulage et de traitement thermique de précision, il offre une stabilité dimensionnelle et une résistance à l’usure exceptionnelles, ce qui en fait un outil essentiel pour l’inspection et l’entretien de la précision des machines-outils.


AiguillonnerSchéma uct

Barre de test HSK

Paramètre du produit

Barre de test HSK

Avantages du produit

Les barres d’essai de faux-rond de la broche sont faciles à utiliser et constituent un moyen rapide de vérifier que la broche de votre machine fonctionne correctement. Vérifiez-les après qu’une machine a été écrasée et prenez les mesures appropriées avant de commencer à fabriquer des pièces de rebut.

Les barres d’essai de broche sont utilisées dans la broche du changeur d’outils automatique de la machine pour détecter et évaluer le faux-rond de la broche. Les barres d’arbre de calibrage sont un maître pour vérifier l’alignement de l’axe avec la machine


Barre de test HSK


Inspection de la qualité

Jiehe Machinery possède une usine de production de porte-outils de premier plan et un centre d’inspection et de test en Chine, avec des capacités de fabrication se classant parmi les meilleures. Notre équipement de production et d’essai de base comprend GROB, TAKISAWA, Doosan, HAIMER, KELCH, ZOLLER, Mitutoyo, etc., et nous possédons également la gamme complète de porte-outils standard et de jauges de porte-outils de German Diebold. L’utilisation de ces équipements garantit en outre la supériorité de notre efficacité de production et de la qualité de nos produits.

Nous disposons d’une ligne de production intelligente, qui assure la stabilité de la qualité du produit et améliore considérablement l’efficacité de la production.


Barre de test HSK


Barre de test HSK


Affichage en usine

Jining Jiehe Machinery Co., Ltd., fondée en 2000, est une entreprise nationale de haute technologie et une entreprise provinciale axée sur la technologie et l’innovation. Spécialisée dans les accessoires de machines-outils CNC, l’entreprise propose plus de 1 000 variétés de produits, dont 60 % sont exportés. Avec plus de 200 machines CNC et une équipe de plus de 100 employés, Jiehe a obtenu plus de 30 brevets nationaux et est reconnu pour ses marques bien connues telles que CNCJiehe, Sun Moon Lake et Goose. L’entreprise participe régulièrement à des expositions internationales à Pékin, Shanghai, aux États-Unis, en Allemagne, en Italie et à Tokyo, établissant ainsi une forte présence sur le marché mondial. En comparant les meilleures entreprises d’Allemagne et du Japon, Jiehe a réalisé un développement rapide et établi une base complète de production et de R&D avec des filiales à Jining, Shandong, Suzhou et au-delà.


Barre de test HSK

Barre de test HSK

Barre de test HSK


Barre de test HSK

Barre de test HSK


Laissez vos messages

Produits connexes

x

Produits populaires

x